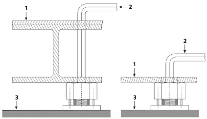
Jackscrew types
Side adjustment, underneath your equipment or machine.
Use this standard Jackscrew if the access to the base of your equipment or machine is possible. Operate with a standard wrench only.
|
|
1.Plastic mortar, 2. Finished floor, 3. Foundation, 4. Foundation bolt
Adjustment from top, by drilling holes in the frame of your equipment.
This is - we call it - our “AT” type, which will be used, once the access to a standard HS jackscrew is not possible from the side, due to the construction or missing space at site.
A combination of both types is possible for large platforms. In areas accessible from the side use the HS 45 standard model. In areas accessible only from the top of the system, the HS 45 AT will be used.
|
|
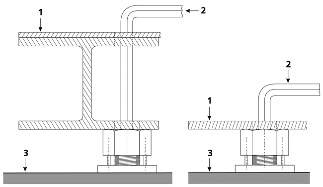
1. Top of base frame, 2. Hex. Key wrench, 3. Top of foundation



