Tipi di perni
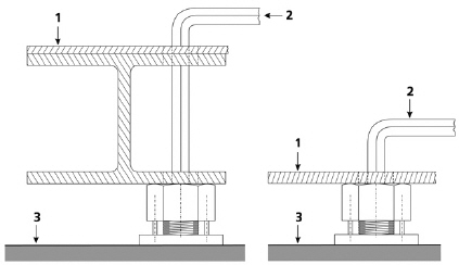
Regolazione laterale, sotto il Vostro impianto o macchinario.
Questo perno livellatore standard viene usato nel caso che sia possibile l’accesso laterale sotto il Vostro impianto o macchinario. Esso viene fissato con una chiave fissa a forchetta.
|
|
1. Malta sintetica, 2. Calcestruzzo, 3. Base, 4. Ancoraggio
Regolazione dall’alto, tramite fori di perforazione sul telaio del Vostro impianto.
Questa è la serie AT, e viene usata quando non si può raggiungere il perno livellatore di lato o disotto l’impianto. Nelle grandi piattaforme è utile una combinazione di entrambi i tipi. Nelle zone accessibili lateralmente viene utilizzata la versione standard HS 45, nelle zone accessibili solo dalla parte superiore dell’impianto viene quindi utilizzato l'HS 45 AT.
|
|
1. Parte superiore del telaio di base, 2. Chiave a brugola esagonale, 3. Parte superiore della base



