Modèles de Vérins
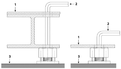
Installation par le côté lateral, sous l’appareil ou l’équipement.
Ces vérins standards s’utilisent avec une clef plate lorsque l’accès latéral est libre.
|
|
1. Mortier adhésif, 2. Dalle bétonnée de base, 3. Fondations, 4. Système de calage
Installation par le haut, par le percage de la structure de l équipement à installer.
Les versions AT sont à utiliser quand l’accès latéral n’est pas possible.
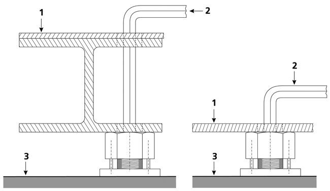
La combinaison des deux systèmes devient optimale pour l’installation de grosses plateformes ou socles. Dans ce cas les versions Standard HS 45 sur les côtés lateraux et la version HS 45 AT sur les accès par le haut de la structure seront utilisés.
|
|
1. Haut de la structure, 2. Clef allen hexagonale, 3. Haut de la fondation



